2023年 7月10日
浅村特許事務所
中国 無効審判事例 ― 慣用手段の直接置換及び展示公開の判断
浅村特許事務所
中国弁護士 鄭 欣佳
実用新案専利における慣用手段の直接置換及び展示公開について、無効審判の判断をご紹介します。
無効審判事例 ― 慣用手段の直接置換及び展示公開の判断
今回の事例は、実用新案における慣用手段の直接置換及び展示公開について、国家知識産権局の判断を説明いたします。
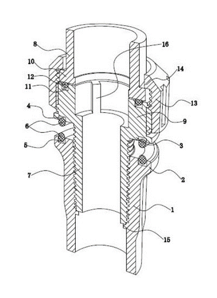
本件の実用新案は、排水システムの技術分野に属するものであり、ガラス製生簀型製品の底部に設置し、生簀内の汚水を排水するための可動継手に関するものです。
市販されている排水継手には、ガラス製生簀の底部の水抜き穴にセットされ、ガラス製生簀に連結される上部スリーブ(実用新案図面7、以下同様)と、下部スリーブ2があります。
上部スリーブ7は生簀の外に延び、下部スリーブ2の内孔にねじ込まれ、下部スリーブ2とねじ結合されます。上部スリーブ7とガラス製生簀の底部との間には環状ガスケットが設けられています。この環状ガスケットは、装着時に半径方向にずれやすく、その結果、上部スリーブ7とガラス製生簀の底部との間のシール性が悪くなり、水漏れが発生したり、寿命が短くなったりします。
当該実用新案は、一種の可動継手を提供し、シール部品(シールリング)6が半径方向に変位せず、取り付けが簡単で、耐用年数が長く、シールリング6と一致するシール溝構造4、5を設け、シールリングがシール溝4、5にはまり込むようにすることで、上記の問題を解決しました。
実用新案図面(ソース:実用新案公開書面)
無効審判の結果、国家知識産権局は専利権の有効性を維持しました。
本件には、優先権書面の立証責任の分担、新規性判断における慣用手段の直接置換の判断、電子証拠の真正性の検証、展示による公開する場合の証拠の判断等、多くの法律問題を含んでいます。今回は、新規性判断するときの慣用手段の直接置換、及び展示による公開する場合の証拠の判断、2点を解説いたします。
新規性審査における「慣用手段の直接置換」
専利審査基準の規定によると、専利と引例を識別する技術的特徴が当該分野の慣用手段の直接置換である場合、当該特許は新規性を有しないと判断されます。
「当該分野における慣用手段の直接置換」であるか否かを判断することは、専利審査の実務において難しい問題です。
「慣用手段の直接置換」であるか否かの判断は、まず、技術的効果から分析することができると考えられます。すなわち、関連する技術的手段が当該分野において公知であるか否か、及び関連する技術的手段の置換後も技術的効果が実質的に同じであるか否かを分析することができます。また、技術的手段の間の関係から分析することもできます。すなわち、技術的手段の交換が他の技術的特徴に与える影響、例えば、構造的特徴によって限定されるクレームの構成要素の置換が、技術方案の他の構成要素との関係に影響を与えるか否かを考慮して分析することができます。
置換が行われる場合、技術的手段と適合する他の構成要素が大幅に変更される必要があるのなら、通常、「直接」置換という要件が満たされていないと考えます。
本件に関して、請求項1と証拠1の相違点は、本件専利がシールリングを使用しているのに対し、証拠1がガスケットを使用していることであり、無効請求人は、ガスケットに代えてシールリングを使用することは、機械分野における慣用手段の直接置換であると主張しました。
上記の考え方に基づき、審決は以下の2つの側面から分析し、無効請求人の主張を認めませんでした。
1. 環状ガスケットは半径方向の変位が生じやすいのに対し、本件専利は半径方向の変位が生じないシール溝とシールリングを備えた構造を採用しており、両者のシール効果には実質的な差があると考えられること。
2. 他の構成要素との関係から考えると、シールリングもガスケットも機械分野における一般的なシール部品であるにもかかわらず、証拠1のガスケットを本件特許のシールリングに置き換えると、これと協働するため、シール溝を追加設置しなければならない。この「置換」が他の技術的特徴もそれに応じて変更する必要があることを前提としたものであるのは明らかであること。
したがって、この場合、ガスケットをシールリングに置き換えることは、機械分野における慣用手段の直接置換であるとは考えられない。
展示による公開
専利審査指南によると、展示とは、専利技術を「使用により」公開する行為です。製品の展示を通じて、ある技術が係争専利の先行技術であることを証明するため、展示行為を通じて開示された情報から、実質的な技術内容を公衆に知らせることができるか否かを検討しなければなりません。係争専利が製品の構造細部に関するものである場合、無効請求人が提出した証拠が、当該専利の出願日前に当該製品が公に展示されたことのみを証明でき、展示行為自体から製品の内部構造を公衆に知らせることができなければ、当該専利が出願日前に開示されたとは認められません。
本件の場合、無効請求人は、当該専利の出願日以前に、当該製品が公に展示されたと主張しました。請求人が提出した証拠の真正性を検証した結果、考慮すべき関連する証拠は出願日前の展示会の写真、展示会のチラシ及び対応するニュースサイトのみです。写真には、製品が展示台に設置されていることが映されています。かかる証拠により、写真に映された製品が出願日前に展示されたことのみを証明することができます。展示台及びチラシの展示は製品の外観のみを示すため、内部構造を公衆に知らせることができませんでした。
それゆえ、無効請求人の主張は認められませんでした。
